Utility patent applications require clear, detailed technical drawings that illustrate how an invention works. Unlike design patents that focus on ornamental appearance, utility patents protect the functional aspects of an invention, making precise technical illustrations essential for explaining mechanisms, structures, and operational principles.
Canvas X Pro offers a comprehensive suite of tools specifically suited for creating utility patent drawings that meet the United States Patent and Trademark Office (USPTO) strict requirements, helping inventors and patent professionals secure strong protection for their innovations.
Utility patent drawings differ significantly from design patent drawings in several key ways:
Canvas X Pro delivers exceptional precision and versatility that make it an ideal choice for utility patent drawings:
Canvas X Pro excels at transforming 3D models into patent-ready technical illustrations:
A standout feature for utility patent drawings is Canvas X Pro 's annotation capabilities:
Let's explore how Canvas X Pro transforms the patent drawing process using real examples:
Step 1: Prepare Your 3D Model or Initial Design
Start with either importing a 3D model or creating the initial design directly in Canvas X Pro

The image above shows a 3D model of a decorative hardware component in Canvas X Pro 's interface. Notice the orthographic view selection and the powerful manipulation tools available in the toolbar.
Step 2: Generate Multiple Views and Perspectives
For utility patents, you'll need several views to fully explain the invention:
Step 3: Vectorize and Refine the Drawings
Canvas X Pro 's vectorization tools transform 3D renderings into clean, patent-ready line drawings:

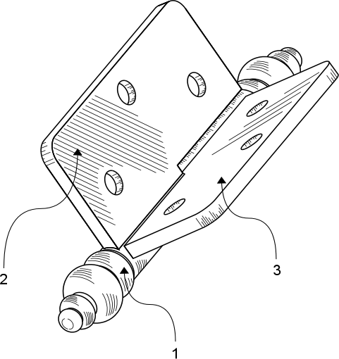
This vectorized drawing shows a mechanical component with proper line work, shading to indicate surfaces, and reference numbers (1, 2, 3) that identify specific parts discussed in the patent specification.
Step 4: Add Proper Shading and Line Work
Utility patent drawings benefit from appropriate shading to indicate:
Notice in the example above how horizontal line shading is used to distinguish surfaces, while curves have subtle line work to show dimensionality.
Step 5: Add Reference Numbers and Lead Lines
One of the most critical aspects of utility patent drawings is proper annotation:

This refined drawing example shows:
Step 6: Create Drawing Sets with Consistent Numbering
For comprehensive utility patent applications, Canvas X Pro excels at creating consistent drawing sets:
Step 7: Export in Patent-Ready Format
Canvas X Pro ensures your drawings meet USPTO electronic filing requirements:
For more complex inventions, Canvas X Pro offers additional capabilities:
Exploded Views
Create clear exploded views showing assembly relationships while maintaining proper reference numbering across components.
Cross-Sectional Illustrations
Canvas X Pro makes it easy to generate accurate cross-sections with proper hatching patterns to indicate cut surfaces according to USPTO standards.
Mechanism Illustrations
For mechanical inventions, Canvas X Pro can clearly show motion paths, operational states, and functional relationships between components.
Traditional patent drawings often require multiple specialized software tools or outsourcing to professional illustrators. Canvas X Pro provides significant advantages:
Meeting USPTO Requirements
Canvas X Pro helps ensure compliance with critical USPTO utility patent drawing requirements:
Canvas X Pro offers a comprehensive solution for creating professional, USPTO-compliant utility patent drawings. Its combination of 3D import capabilities, vectorization tools, and precise annotation features streamlines the patent illustration process while ensuring high-quality results.
By leveraging Canvas X Pro 's powerful technical illustration capabilities, inventors and patent professionals can:
Whether you're working with simple mechanical devices or complex systems, Canvas X Pro provides the precision tools needed to create utility patent drawings that clearly communicate your invention's innovative features and functions.
Ready to Try Canvas X Pro?
Follow this link to get a free-trial
Resources
USPTO Manual of Patent Examining Procedure (MPEP) § 608.02 - Drawing - Official drawing requirements
37 CFR § 1.84 - Standards for drawings - Federal regulations governing patent drawings
Canvas X Pro Product Information - Official Canvas X Pro features and capabilities
USPTO Guide for Application Filing - Resources for patent applicants

Cut errors, reduce costs, improve time to market and retain the best workforce. Talk to us today.
SaaS or self-hosted
Fully customizable
Integrate and embed
Get the job done right, every time, with Canvas Envision
© Canvas GFX 2025
207 Newbury Street | Floor 3 | Boston, MA 02116